3D қоршауларын орнату үшін сізге арнайы құралдар мен дәнекерлеу жабдықтары қажет емес. Бұл орнатуды кез келген тұтынушыға қолжетімді етеді, орнату процесін жылдамдатады және қаржылық шығындарды азайтады.
3D қоршауын орнатуды бастамас бұрын, ұсынылған нұсқауларды оқып шығуды ұсынамыз. Орнату кезінде қауіпсіздік ережелері мен ережелерін сақтаңыз.
Назар аударыңыз! «Гранза» ЗО өнімді орнату және пайдалану бойынша өндірушінің нұсқауларын бұзу салдарынан болуы мүмкін зақымдар мен зақымдар үшін жауапты емес. Орнату нұсқауларын кейіннен реттеу арқылы қоршаулар мен жекелеген элементтердің дизайнына өзгерістер енгізу мүмкіндігі туралы хабарлаймыз. Осы нұсқаулықтың мазмұны заңды талаптарға негіз бола алмайды.
Қаласаңыз, біздің қызметтерді мына жерден пайдалана аласыз: 3D қоршауын орнату.
Қоршауды орнату нұсқаулары тапсырысыңызбен бірге беріледі.
1. Орнату әдісін таңдау
3D құрылымдарын орнатудың бірнеше жолы бар. Орнату әдісін таңдамас бұрын, топырақты зерттеуді жүргізу және келесі сипаттамаларды анықтау ұсынылады:
- жер түрі;
- топырақтың қату тереңдігі;
- жер асты суларының деңгейі
Топырақты зерттеу туралы толығырақ 1.1-тармақтан оқыңыз «Гранза» 3D қоршауларын, қақпаларын және қақпаларын орнату нұсқаулары
Көрсетілген параметрлерге байланысты тіректерді орнату түрлерінің бірін таңдауға болады:
- дақ бетондау;
- фон;
- дайындалған бетке немесе жолақты негізге орнату;
- бұрандалы тіректерге немесе қозғалмалы қадаларға орнату.
Толтыру және бетондау үшін бағанның биіктігі қоршаудың биіктігіне байланысты:
| Қорғау биіктігі, мм | Пост биіктігінің ең аз өсуі, мм |
|---|---|
| 500-1000 | 300 |
| 1000-2000 | 500 |
| 2000-3000 | 700 |
| 3000 и более | 1000 и более |
Фланецті қосылымды пайдаланған кезде қоршаудың биіктігі бағана биіктігіне тең.
2. Құралдар мен материалдар
Төменде орнату үшін қажетті ресурстар мен жабдықтың типтік есептеулері берілген.
Негізгі материалдар:
| Аты | 100 м-ге сұраныс | |
|---|---|---|
Ұзындығы 2500 мм | Ұзындығы 3000 мм | |
| Қоршау панельдері «ГРАНЗА» дәнекерленген мырышталған тордан, дана. | 40 | 34 |
| Пластикалық тығындармен полимерлі жабынмен мырышталған металл тіректер, дана. | 40 | 34 |
| Монтаждау жинағы, шт. | 240 | 204 |
| SBB/PBB/KC кронштейндері (қауіпсіздік тосқауылының түріне байланысты жіппен және жақшалармен бірге беріледі), шт. | 40 | 34 |
Машиналар, жабдықтар, құралдар, инвентарлар:
| Аты | Кол-во, шт. |
|---|---|
| Крандық бұрғылау машинасы / қолмен бұрғылау | 1 |
| Металл өлшеуіш таспалар, 5 м | 2 |
| Құрылыс деңгейі | 2 |
| Зығыр шнур (қадағалау) | |
| Құрылыс болат күректер | 2 |
| Сынық болат конструкциясы | 2 |
| Ашық немесе розетка кілттері S13; S17 | 6 |
| Алты бұрышты кілттер S4; S6; S8; | 6 |
| Құрылыс болат штубель желісі | 1 |
| Деңгей | 1 |
3. 3D қоршауын тасымалдау және сақтау
Тиеу-түсіру жұмыстары жүк көтергіштігі кемінде 3 тонна және шанышқысының ұзындығы кемінде 2 метр болатын жүк көтергіш машинаны пайдалану арқылы жақсырақ орындалады.
«Гранза» қоршау панелін тасымалдау кезінде бір паллетке 50-80 дана көлемінде арнайы ағаш паллеттерге салынуы керек. Палет салмағы 1-1,5 тонна. Бір стандартты еуро жүк көлігі жалпы салмағы 17-19 тонна болатын 800-1200 панельді ұстай алады. Паллеттерді 4 деңгейден аспайтын қабаттарға орнату және автомобиль корпусына белдіктермен бекіту ұсынылады.
10 данаға дейін панельдер мен тіректерді паллетсіз қаптамада тасымалдауға болады. Сақтау кезінде биіктігі 4 данадан аспайтын қабаттасуға рұқсат етіледі.
Толығырақ 1.5-тармақта оқыңыз «Гранза» 3D қоршауларын, қақпаларын және қақпаларын орнату нұсқаулары
4. Орнатуға дайындық
Учаскеде орнатуды бастамас бұрын, қақпаның немесе қақпаның орналасқан жерін, жер асты және жер үсті инженерлік желілердің қиылысуын, биіктіктің өзгеретін жерлерін, қоршаудың бұрылыс нүктелерін белгілеу қажет.
Жер асты коммуникациялары ашылуы және қорғаныш құрылыстарымен қоршалуы керек. Қоршаудың бүкіл периметрі бойынша төбешіктер мен шұңқырлар жойылуы керек (табиғи беткейлерден басқа, егер учаске беткейде орналасқан болса). Ағаштар мен бұталарды іргетастың немесе қоршаудың өзін зақымдау мүмкіндігін болдырмас үшін қоршаудан жеткілікті қашықтықта кесу керек.
5. Сюжетті белгілеу
Орнатудың бірінші кезеңі - учаскенің басқару нүктелерін орнату (кіру, айналу бұрыштары, биіктіктің өзгеруі). Олардың арасында жоспарланған қоршаудың жоғарғы жиегінің биіктігі бойынша шнур немесе арқан тартылады.
3D қоршауын таңбалау кіреберіс тобынан немесе сайттың бұрышынан басталады. Әрі қарай, болашақ тіректердің периметрін PPR сәйкес белгілеңіз, шұңқырлардың орталықтары шаш қыстырғыштарымен белгіленеді.
Бағандардың осьтері арасындағы нақты қашықтықты анықтау үшін келесі кестені пайдалануға болады:
| Панель ені, мм | Бағандардың осьтері арасындағы қашықтық, мм |
|---|---|
| 2510 | 2520 |
| 3010 | 3020 |
| 3110 | 3120 |
Әрі қарай, болашақ тіректердің орындарында тесіктер бұрғыланады. Топырақтың қату тереңдігіне (кемінде 1200 мм) диаметрі кемінде 250 мм қолмен немесе механикалық бұрғылауды қолдануға болады.
6. Панельді орнату
Панельдерді орнату бойынша жұмыстардың реттілігі:
- Пластикалық тығындар (жеткізілімге кіреді) әр посттың жоғарғы жағында орнатылады.
- 5-параграфтағы кестеге сәйкес, жерге бірінші 2 бағананы бір-бірінен алшақ етіп параллель орналастырыңыз.
- Техникалық саңылаулардың биіктігінде бекіткіштері бар тіректермен бірінші панельді бекітіңіз немесе бұрғылау бұрандаларын пайдаланған жағдайда, тірек ұзындығының шамамен әрбір 500 мм, жүкті тіректің бүкіл биіктігіне біркелкі таратыңыз.
- Қажет болса, шатырдың қосымша қоршауларын орнатыңыз.
- Жиналған құрылым шұңқырларға орнатылып, биіктікте және тік күйде тегістеліп, тірек тіректермен немесе шегелермен созылған арқанмен қатты бекітілген болуы керек. Фланецті қосылымды пайдаланған жағдайда құрылымды анкерлік болттар арқылы реттеу керек.
- Келесі панельді орнатуды жалғастырыңыз.
- Барлық орнату жұмыстарын аяқтағаннан кейін және барлық ауытқуларды салыстырғаннан кейін, барлық болттармен бекітілген қосылымдарды қатайту керек, ал вандалдық гайкаларды пайдаланған жағдайда, алтыбұрышты ұштарды үзіңіз.
| Қорғау биіктігі, мм | 1 тірекке шаққандағы бекіткіштер саны, шт. |
|---|---|
| 500-700 | 2 |
| 1000-1600 | 3-4 |
| 1800-2500 | 4-5 |
| 3000-6000 | 5-10 |
7. Бетондау
Бағаналарды бетондау барлық дерлік топырақтарға жарамды, тек көтеруден басқа. Бұл металл тіректерді орнатудың ең көп ресурстарды қажет ететін және сенімді әдісі..
Әрбір тірек ұңғымаға бетон ерітіндісін құю арқылы бетондалады. Ұңғыманың диаметрі 250 мм-ге дейін және құбыр диаметрінен 80-150 мм артық болуы керек. Әлсіз топырақтарда ұңғыма түбіне алдын ала қиыршық тас немесе ASG құйылады және гидрооқшаулағыш орнатылады (толығырақ ақпаратты 2.4.1 параграфынан қараңыз 3D қоршауларын, қақпаларды және қақпаларды орнату нұсқауларын қараңыз. «Гранза»).
8. Бұзуға қарсы торды орнату
Бұзуға қарсы торы бар тіректерді орнату үшін қоршауды орнату сызығының бойымен тереңдігі 600 мм-ге дейін траншеяны дайындау керек, содан кейін периметрді дәл белгілеп, диаметрі бар тіректерді орнату орындарында тесіктерді бұрғылау керек. 150-250 мм мұздату тереңдігіне дейін.
Әрі қарай, орнатылған тіректерге қазуға қарсы торды орнату қажет - кронштейндер мен болттармен қосылыстар арқылы, дәнекерленген торды пайдаланған жағдайда (№ 1 нұсқа) немесе дәнекерлеу арқылы, дәнекерленген торды пайдаланған жағдайда 150x150 - 200x200 мм тор өлшемі бар арматура, арматуралық сым диаметрі 16 мм (нұсқа No 2).
9. Шатырлы қоршаулар
Шатырдың қоршауы мырышталған кронштейндерден және толтырғыш элементтерден тұрады
Жақша түрлері:

Түрлі толтырулары бар шатырлы қоршаулардың түрлері:

Шатырлы қоршауларды орнату туралы толығырақ 2.5-тармақтан оқыңыз «Гранза» 3D қоршауларын, қақпаларын және қақпаларын орнату нұсқаулары
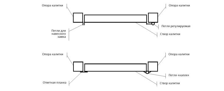
10. Қақпаларды орнату
Қақпаны орнату үшін биіктікте айтарлықтай айырмашылықтарсыз тегіс бет қажет. Бағаналарды орнату Тапсырыс берушінің таңдауы бойынша кез келген жолмен жүзеге асырылады:

Қақпаларды орнату туралы толығырақ 3-тармақтан оқыңыз «Гранза» 3D қоршауларын, қақпаларын және қақпаларын орнату нұсқаулары
11. Қақпаны орнату
Қақпаны орнату үшін ашылу осі бойымен саңылаудағы айырмашылықтарсыз тегіс бет қажет. Бағандарды орнату Тапсырыс берушінің таңдауы бойынша кез келген тәсілмен жүзеге асырылады. Бағандардан кейін қақпаның жапырақтары орнатылады. Қажет болса, ағаш блоктар мен тіректерді пайдалануға болады. Топсалардағы реттеу түйіндерін пайдаланып, қақпаның жапырақшаларын тігінен және көлденеңінен орнату қажет.
Бұрылмалы қақпа нұсқалары төменде көрсетілген:

Қақпаны орнату туралы толығырақ 4-тармақтан оқыңыз «Гранза» 3D қоршауларын, қақпаларын және қақпаларын орнату нұсқаулары
Жиі қойылатын сұрақтар
Бетонға 3D торлы қоршау орнатуға бола ма?
Иә, 3D рельсті фланецтердің көмегімен бетон негізіне орнатуға болады. Әдетте, бұл қоршау немесе бетон төсеніші үшін дайындалған іргетас. Көбінесе бұл орнату әдісі қауіпті аймақтарды немесе жабдықты қоршау үшін өндірістік объектілердің ішінде қолданылады.
Қыста 3D қоршау орнатуға болады ма?
Панельдік 3D қоршауларын жыл бойына орнатуға болады. Әртүрлі нұсқалар мүмкін: аязға қарсы қоспалармен бетондауға арналған тірек, әртүрлі негіздегі фланецті қосылым: бетон іргетасы немесе стяжка, қадалар, құбырға бекіту.
3D торы бар уақытша қоршауларға тапсырыс беруге болады ма?
Иә болады. «ГРАНЗА» қоршауларын уақытша қоршаулар ретінде пайдаланудың әртүрлі нұсқалары бар. Біз әрбір нақты жағдайда ең жақсы шешімді таңдаймыз.
Дайын 3D қоршауының максималды биіктігі қандай?
Бір қоршау панелінің максималды биіктігі - 3 метр. Сонымен қатар, дайын қоршаудың биіктігі үш метрмен шектелмейді, торлы қоршау биіктігі бойынша бірнеше панельдерден тұруы мүмкін, олар кронштейндермен өзара байланысты. Мысалы, спорт алаңдары мен футбол алаңдарына арналған торлы қоршаулар осылай жасалады. Біздің портфолиомызда биіктігі 4 метр болатын нысандар бар, бірақ бұл 3D қоршаулары үшін максималды биіктік емес.
